foto1
Stage Pro-sound
foto1
Stage Pro-lighting
foto1
Tube Amplifier
foto1
Disco Bar
foto1
Karaoke & Bistro Systems
e-mail: soundlightingvn@gmail.com
Phone: +84 903 923 527

MISCELLANEOUS ITEMS

Ai đang truy cập

We have 12 guests and no members online

03039202
Hôm nay
Hôm qua
Tất cả
234
530
3039202

06-10-2025 10:38

Đăng ký/đăng nhập

Welcome, Guest
Username: Password: Remember me

TOPIC: tư vấn ráp ampli đèn EL84

Re:tư vấn ráp ampli đèn EL84 10 Nov 2011 16:36 #733

  • muathuuongruou
  • muathuuongruou's Avatar
  • Offline
  • Expert Boarder
  • Posts: 120
  • Karma: 2
Chào bạn 10. mình sắp hoàn thành cái ampli đầu tiên rồi (do vừa đi làm vừa chăm sóc gia đình thời gian rỗi còn lại mới lắp ráp được nên hơi lâu). Mình ko dùng bóng EL84 nữa mà dùng đúng bóng 6L6 theo đúng sơ đồ.
Bạn có sơ đồ thì cứ đưa lên để anh em cùng bàn luận thêm kinh nghiệm có sao đâu.

Gửi chú phúc.
Hiện tại cháu cắm đèn vào nhưng ko tính trước nên các đèn gần nhau quá chỉ cách khoảng 1-1.5 cm (khoảng cách thực từ bóng đèn này đến bóng đèn khác.) không biết có bị ảnh hưởng nhiều không như nhiệt độ, nhiễu ....
The administrator has disabled public write access.

Re:tư vấn ráp ampli đèn EL84 10 Nov 2011 19:35 #734

  • 10
  • 10's Avatar
  • Offline
  • Moderator
  • Posts: 233
  • Thank you received: 46
  • Karma: 2
khiếp.mới el84 bi giờ bay lên 6l6 rồi.ah mình tính đưa bác mạch DYNACO A410 đó mà.
tại mình lắp thấy mạch dễ thành công không bị ù xè nên thấy hay đó mà.mình cứ post lên bác tham khảo.
:P .bác nào chơi cái này mà không dính líu tới vợ con.mình còn ngoặt nghòe hơn nữa cơ,bà xã chả khoái cái món này nên đành ôm nghe một mình cơ.bi đát lắm..(:woohoo: )
The administrator has disabled public write access.

Re:tư vấn ráp ampli đèn EL84 10 Nov 2011 19:51 #735

  • 10
  • 10's Avatar
  • Offline
  • Moderator
  • Posts: 233
  • Thank you received: 46
  • Karma: 2
mạch này trong khoảng 15wat thôi nhưng nghe cũng muốn nổ nhà rồi.
cái này chỉ là power amp ,cần thêm một pre nữa.
The administrator has disabled public write access.

Re:tư vấn ráp ampli đèn EL84 10 Nov 2011 20:39 #736

  • muathuuongruou
  • muathuuongruou's Avatar
  • Offline
  • Expert Boarder
  • Posts: 120
  • Karma: 2
Cậu post schematic chưa sao ko nhìn thấy nhỉ
The administrator has disabled public write access.

Re:tư vấn ráp ampli đèn EL84 10 Nov 2011 23:11 #738

  • 10
  • 10's Avatar
  • Offline
  • Moderator
  • Posts: 233
  • Thank you received: 46
  • Karma: 2
không post đươc ảnh vì side lớn wa.
xem ở đây nhé.
www.triodeel.com/dyna6bq5.gif
The administrator has disabled public write access.

Re:tư vấn ráp ampli đèn EL84 12 Dec 2011 21:15 #806

  • muathuuongruou
  • muathuuongruou's Avatar
  • Offline
  • Expert Boarder
  • Posts: 120
  • Karma: 2
k/g chú phúc
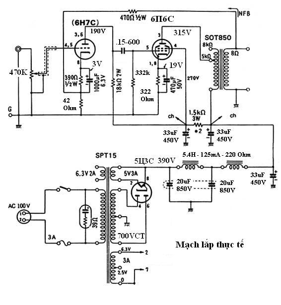
Sau khi cháu kiếm được 1 cặp biến thế xuất âm của ampli SE nên cháu đã lắp bộ SE trước.
đến hôm nay đã cất tiếng chào đời. nhưng nó bị bệnh là vặn volume = max hoặc min thì ko có tiếng ù nhưng cứ vặn vào đọan khác ở giữa là bị ù.
Lúc đầu cháu nghĩ là do chiết áp của mình có vấn đề nhưng hiện tại cháu đã thay biến trở khác thì hiện tượng vẫn thế.
Nhờ chú tư vấn cho cháu căn chỉnh lại nó.
Đây là mạch lúc đầu và mạch cháu lắp ráp thực tế có cả điện áp các điểm cháu đo = đồng hồ khi ampli đang chạy.

cảm ơn chú
The administrator has disabled public write access.

Re:tư vấn ráp ampli đèn EL84 12 Dec 2011 21:20 #807

  • muathuuongruou
  • muathuuongruou's Avatar
  • Offline
  • Expert Boarder
  • Posts: 120
  • Karma: 2
Cháu upload ảnh nhưng không được, cháu úp tạm lên mediafire chú xem hộ cháu nhé.
cảm ơn chú

Mạch nguyên bản: www.mediafire.com/?gqfgbup7rl03021
Mạch thực tế: www.mediafire.com/?12z8qf5sr3qnpjm

(Tôi post hình sau dùm em, Phúc).

Last Edit: 13 Dec 2011 14:34 by tuyenphuc.
The administrator has disabled public write access.

Re:tư vấn ráp ampli đèn EL84 13 Dec 2011 14:31 #809

  • tuyenphuc
  • tuyenphuc's Avatar
  • Offline
  • Administrator
  • Posts: 536
  • Thank you received: 93
  • Karma: 9
Trên cả 2 sơ đồ, việc phân cực lưới đèn pre có vấn đề, trở kháng của lưới khiển sẽ bị thay đổi khi vặn biến trở. Trên lý thuyết thì không sao, nhưng ở đây em đã thay đổi loại bóng nên có sự khác biệt rồi. Còn khuyết điểm nữa của mạch này là nếu tiếp giáp biến trở hơi xấu 1 chút, khi vặn sẽ nghe tiếng rột rẹt.

Em phải phân cực lưới cố định bằng cách nối lưới xuống mass bằng điện trở từ 100k => 470kΩ, tuỳ loại đèn. Giữa chấu giữa biến trở và lưới, em nối tiếp thêm 1 tụ liên lạc khoảng 0.47µF, như vậy sẽ ổn định hơn.

Sơ đồ này khá đơn giản, ráp đúng linh kiện là chạy thôi. Tôi đã bắt đầu viết 1 bài hướng dẫn về cách cân chỉnh tube-amp cơ bản, vài ngày nữa xong post ở trang ngoài, em đón đọc thực hành y vậy là xong.
The administrator has disabled public write access.

Re:tư vấn ráp ampli đèn EL84 13 Dec 2011 14:45 #810

  • muathuuongruou
  • muathuuongruou's Avatar
  • Offline
  • Expert Boarder
  • Posts: 120
  • Karma: 2
Cho cháu hỏi thêm 1 chút là việc đấu dây loa về mass, cháu thấy trên 1 số sơ đồ có đấu loa với mass 1 số thì không. Thực tế khi cháu kiểm tra thì khi không đấu xuống mass thì tiếng to hơn 1 chút nhưng khi đấu thì tiếng ù lại nhỏ hơn rất nhiều. Vậy ngoài ra khi đấu xuống mass thì nó có những tác dụng gì ạ.
The administrator has disabled public write access.

Re:tư vấn ráp ampli đèn EL84 13 Dec 2011 14:49 #811

  • muathuuongruou
  • muathuuongruou's Avatar
  • Offline
  • Expert Boarder
  • Posts: 120
  • Karma: 2
tiện đây cháu thấy forum của chú có vấn đề, cháu không thể vào được trang cuối = cách bấm vào số trang khi đang đọc topic. cháu toàn phải gõ trang vào url (vd bấm vào trang 3 thì nó chỉ chuyển vào trang 2, nếu muốn vào trang 3 thì phải đổi lại page-2 thành page-3)
The administrator has disabled public write access.
Moderators: 10
Time to create page: 0.095 seconds